Lawn & Garden
*This is an excerpt from The Alabama Vegetable Gardener, ANR-0479.
Most gardening publications emphasize that you should locate your garden on well-drained soil. What is well-drained soil? What can you do if you have a wet-natured soil or clayey soil that dries out slowly?
Keep in mind that an ideal soil is about one-half air space, one-half solid soil mineral with 2 to 4 percent organic matter. Under ideal growing conditions, about half of the air space will be filled with water. If the soil is too wet, plant roots can’t get the oxygen they need. Yes, roots need oxygen just like other organisms. When it’s not available, the roots will die. Beneficial soil microorganisms also need oxygen to mineralize nutrients in organic matter and to fix nitrogen for legumes such as beans and peas. When the soil is too wet for the oxygen-loving organisms to function, the anaerobic organisms (those not requiring free oxygen) take over. One group of anaerobic bacteria, the denitrifiers, actually take oxygen from fertilizer nitrates and convert the nitrogen back into a gas that is lost from the soil.
One of the obvious consequences of wet soil is cold soil in early spring. More heat is required to warm water than soil. Therefore, if the soil is well drained, it will warm up rapidly in early spring, allowing earlier planting, fewer seedling diseases, and, perhaps, a longer growing season.
Following are some things you can do to encourage your soil to drain better—even in naturally poorly drained soil.
- Soil Amendments: Add organic material like compost to open a soil up, allowing more air space and improving drainage.
- Bedding: Where erosion is not likely, prepare beds in the fall that can be smoothed off in the early spring for planting. The raised beds also warm up faster in the spring.
- Built-Up Soil: In areas of poorly drained clay soils, build up additional topsoil or a soil mix on the existing soil surface. Avoid digging deeply into the existing soil, because this could create a bathtub effect and actually hold water.
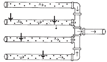
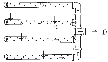
- Pipe Drainage: If the land will allow a drainage outlet, install underground perforated pipe or tile drainage to allow excess water to flow out of the soil. This is similar to installing field lines for a septic tank, only several pipes run parallel across the garden and drain to an outlet. Pipe drainage is more expensive but very effective in certain soils.
For more information, see other excerpts from The Alabama Vegetable Gardener, ANR-0479.
Kerry Smith, Extension Home Horticulture Associate; Ayanava Majumdar, Extension Entomologist; Charles Mitchell, Extension Agronomist, Professor, Agronomy and Soils; John Everest, Visiting Professor, Agronomy and Soils; Edward Sikora, Extension Plant Pathologist, Professor, Entomology and Plant Pathology; Joseph Kemble, Extension Specialist, Professor, Horticulture; all with Auburn University; and Rufina Ward, Research Entomologist, Natural Resources and Environmental Sciences, Alabama A&M University.
Reviewed October 2021, The Alabama Vegetable Gardener, ANR-0479


